-
聯軸(zhou)器膜片(pian)
-
膜片(pian)聯(lian)軸(zhou)器
-
膜盤(pan)聯(lian)軸(zhou)器
-
蛇(she)形(xing)彈(dan)簧(huang)聯(lian)軸(zhou)器
-
鼓型(xing)齒(chi)式(shi)聯(lian)軸(zhou)器
-
滾珠(zhu)聯軸(zhou)器
-
星形(xing)彈(dan)性聯軸(zhou)器
-
梅(mei)花形(xing)彈(dan)性聯軸(zhou)器
-
彈(dan)性套柱(zhu)銷(xiao)聯軸(zhou)器
-
LK型(xing)彈(dan)性塊(kuai)聯軸(zhou)器
-
彈(dan)性柱(zhu)銷(xiao)聯軸(zhou)器
-
徑(jing)向(xiang)彈(dan)性柱(zhu)銷(xiao)聯軸(zhou)器
-
彈(dan)性柱(zhu)銷(xiao)齒(chi)式(shi)聯(lian)軸(zhou)器
-
泵用聯軸(zhou)器
-
滾子(zi)鏈聯軸(zhou)器
-
剛(gang)性聯軸(zhou)器
-
滑(hua)塊(kuai)聯軸(zhou)器
-
輪胎(tai)聯軸(zhou)器
-
萬向軸(zhou)聯軸(zhou)器
-
夾(jia)殼(ke)聯軸(zhou)器
-
定做(zuo)異型(xing)聯(lian)軸(zhou)器
-
聯軸(zhou)器配件
-
聯軸(zhou)器原材料(liao)
-
脹(zhang)緊套(tao)
-
皮(pi)帶(dai)輪(lun)

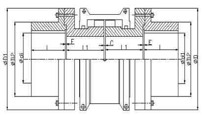
T31雙法(fa)蘭聯結蛇(she)形(xing)彈(dan)簧(huang)聯(lian)軸(zhou)器



提(ti)供系統(tong)峰(feng)值(zhi)扭矩和頻(pin)率(lv),循環(huan)周期和剎車扭矩(ju)將有(you)助於 的(de)使用公式(shi)選型(xing)法(fa)選型(xing)。
1.峰(feng)值(zhi)載荷:對於扭矩值比正(zheng)常(chang)值高(gao)的(de)電機(ji)應(ying)用情況(kuang),對於間歇運轉(zhuan),沖擊載(zai)荷(he),由於啟動或(huo)
停(ting)止(zhi)而(er)引起(qi)的(de)慣(guan)性作用或(huo)系(xi)統(tong)引(yin)起(qi)的(de)反復峰(feng)值(zhi)載荷的(de)應(ying)用情況(kuang),使用下(xia)面的(de)壹(yi)個公式(shi)。系(xi)統(tong)峰(feng)值(zhi)載荷
是可(ke)能(neng)存(cun)在於系統(tong)中(zhong)的(de) 大(da)載(zai)荷(he),選擇(ze)聯軸(zhou)器的(de)額(e)定載(zai)荷(he)等(deng)於或(huo)大(da)於根(gen)據(ju)下(xia)面的(de)式(shi)子(zi)計(ji)算出的(de)選型(xing)扭(niu)矩(ju)。
A 無反向峰(feng)值(zhi)載荷
選型(xing)扭(niu)矩(ju)(Nm)=系統(tong)峰(feng)值(zhi)載荷或(huo)
系(xi)統(tong)峰(feng)值(zhi)載荷KW*9549
選型(xing)扭(niu)矩(ju)(Nm)= rpm
B有(you)反向峰(feng)值(zhi)載荷
選型(xing)扭(niu)矩(ju)(Nm)=1.5*系統(tong)峰(feng)值(zhi)載荷或(huo)
1.5系(xi)統(tong)峰(feng)值(zhi)載荷KW*9549
選型(xing)扭(niu)矩(ju)(Nm)= rpm
C 偶然峰(feng)值(zhi)載荷(無反向)
在聯軸(zhou)器的(de)預期壽命期間,如(ru)果(guo)系(xi)統(tong)峰(feng)值(zhi)載荷出現(xian)的(de)次數少於1000次的(de),便(bian)用下(xia)面的(de)公式(shi):
選型(xing)扭(niu)矩(ju)(Nm)= 0.5*系統(tong)峰(feng)值(zhi)載荷或(huo)
0.5*系(xi)統(tong)峰(feng)值(zhi)載荷KW*9549
選型(xing)扭(niu)矩(ju)(Nm)= rpm
有(you)反向扭轉(zhuan)的(de)情(qing)況(kuang),根(gen)據(ju)上面B步驟(zhou)選型(xing)。
2. 剎(sha)車應用
如果剎車功(gong)率(lv)超(chao)過電機(ji)功(gong)率(lv),根(gen)據(ju)下(xia)式(shi)使用剎車功(gong)率(lv)
選型(xing)扭(niu)矩(ju)(Nm)=剎車扭矩(ju)*工況(kuang)系數(shu)
公式(shi)選型(xing)法(fa)舉(ju)例---峰(feng)值(zhi)載荷:
選擇(ze)壹(yi)款聯軸(zhou)器連接(jie)齒(chi)輪箱(xiang)低(di)速(su)輸(shu)出軸(zhou)與熱(re)軋鋼輥道軸(zhou),具有(you)回(hui)動(dong)。電機(ji)功(gong)率(lv)為(wei)37KW,
系(xi)統(tong)作(zuo)用於聯軸(zhou)器的(de)峰(feng)值(zhi)扭矩大概(gai)為(wei)17000Nm,聯(lian)軸(zhou)器轉(zhuan)速(su)為(wei)77rpm,驅動(dong)軸(zhou)直徑(jing)100mm帶(dai)28mm*
16mm鍵(jian),軋(zha)機(ji)軸(zhou)直徑(jing)135mm帶(dai)28mm*16mm鍵(jian),軋(zha)機(ji)軸(zhou)直徑(jing)135mm帶(dai)36mm*20mm, 大(da)軸(zhou)間隙(xi)BE=180mm。
1.型(xing)號(hao): 選擇(ze)合適(shi)的(de)聯(lian)軸(zhou)器型(xing)號(hao)
2.聯軸(zhou)器所(suo)需 小扭矩:用步驟(zhou)1B中(zhong)回(hui)動(dong)峰(feng)值(zhi)載荷公式(shi):2*17000=34000=選型(xing)扭(niu)矩(ju)。
3.規格:從表(biao)中(zhong)查(zha)出(chu)1150T35的(de)扭(niu)矩(ju)39800超(chao)過選型(xing)扭(niu)矩(ju)34000Nm
4.校核:1150T35的(de) 大(da)BE尺(chi)寸(cun)為(wei)187.5mm,軸(zhou)軸(zhou)套 大(da)孔徑(jing)270mm,
T軸(zhou)套的(de) 大(da)孔徑(jing)為(wei)215mm,許(xu)用轉(zhuan)速(su)為(wei)1500rpm,尺(chi)寸(cun)也(ye)符合要求。

唐(tang)山(shan)T31雙(shuang)法(fa)蘭聯結蛇(she)形(xing)彈(dan)簧(huang)聯(lian)軸(zhou)器 山東(dong)T31雙(shuang)法蘭聯結蛇(she)形(xing)彈(dan)簧(huang)聯(lian)軸(zhou)器

SWC-DH型(xing)十(shi)字(zi)軸(zhou)式(shi)萬向聯軸(zhou)器
SWC-DH型(xing)十(shi)字(zi)軸(zhou)式(shi)萬向聯軸(zhou)器是...

聯(lian)軸(zhou)器膜片(pian)
其(qi)工作原理為(wei):轉(zhuan)矩(ju)從主動端(duan)半(ban)...

LLB冶金設備(bei)用輪胎式(shi)聯(lian)軸(zhou)器
檢(jian)驗零(ling)件時,先(xian)對照(zhao)圖(tu)紙(zhi)的(de)標...

NGCL鼓形(xing)齒(chi)式(shi)聯(lian)軸(zhou)器
NGCL型(xing)帶(dai)制(zhi)動輪鼓(gu)形(xing)齒(chi)式(shi)聯(lian)軸(zhou)器...
